
Bellagio Penthouse
Wentworth Park, Sydney
Year
2024
Pre-Design Condition
Existing split-level penthouse located within The Bellagio, an eight-storey residential complex designed by Allen Jack+Cottier and completed in 2005. Spanning levels 5 and 6, the apartment includes four bedrooms, three bathrooms, an upstairs balcony, and a large terrace. The Bellagio features a Mediterranean-inspired architectural style, with resort-style amenities and interiors reflective of its time.
Software Skills
Revit
SketchUp
Enscape
Abode Photoshop
Client Brief
The project involves the contemporary upgrade of the existing apartment, creating a refined, gallery-inspired interior where artwork becomes the primary visual focus.
Design and fully document a new stair connecting Levels 5 and 6, ensuring compliance with structural and code requirements.
Custom-design and document all joinery throughout the apartment, including the kitchen, living areas, bedrooms, and wet areas.
Project Note
This project has been developed primarily for documentation purposes, with the design intent aimed at enhancing the apartment’s interior character and functionality.
Documentation
Level 5 floorplan @ 1:50
Staircase elevation @ 1:20
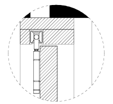
Bifold door section detail 1 @ 1:2
Bifold door section detail 2 @ 1:2
Level 6 floorplan @ 1:50
Kitchen elevation @ 1:20
Interior Design Concept
The design concept centres on the apartment acting as a quiet framework for living with art. Inspired by gallery spaces, the interiors are deliberately minimal, emphasising proportion, scale, and materiality over decorative detail. The staircase becomes a sculptural focal point, enhancing the sense of vertical connection between levels while maintaining openness and flow. Natural textures, soft tonal contrasts, and integrated lighting create a calm, refined backdrop.
FF&E
Caption required - placeholder image
Material Board
Caption required - placeholder image
Caption required - placeholder image
Caption required - placeholder image
Caption required - placeholder image
Caption required - placeholder image
Caption required - placeholder image
Renders
Caption required - placeholder image
Caption required - placeholder image
Caption required - placeholder image
Caption required - placeholder image